饿了么更名, 阿里和美团争夺“闪购”商标?
发布日期:2025-11-19 浏览次数:59
近日不少网友发现,饿了么App完成版本号更新至12. 0.1后,已正式更名为“淘宝闪购”。
目前“淘宝闪购”正处于灰度测试阶段,仅对部分用户开放体验。此次更新的“淘宝闪购”标语为“外卖放心点,美食准时达”。自2025年10月起,骑手服装、App图标等视觉元素已同步更换为淘宝品牌主色调橙色。

此次整合被视为阿里应对美团、京东等对手的“即时零售”竞争举措,通过资源集中和品牌统一,提升配送效率与用户体验。
即时零售市场潜力巨大,美团凭借闪购业务占据先发优势。有意思的是,阿里与美团均申请注册“闪购”相关商标,凸显双方对该领域的高度重视。
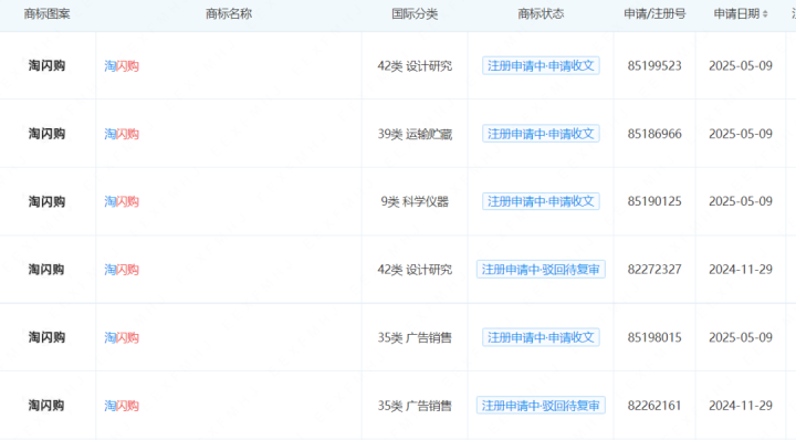
2025年以来,阿里巴巴(中国)有限公司已申请“淘闪购”“TAOBAOSHANGOU”“淘宝闪购 点外卖更优惠”等多枚闪购系列商标,涉及广告销售、网站服务等领域。

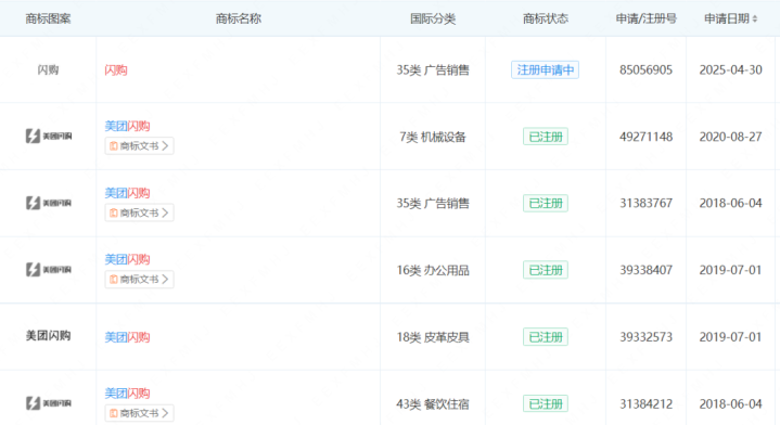
美团早在多年前就已成功注册多件“美团闪购”“美团闪购及图”商标,今年又补充注册“闪购”商标,目前处于申请中状态。

目前,市场上含有“闪购”两字的商标也比较多,像“茗闪购”“农闪购”“亿闪购”等都已成功注册,这些商标或许会对美团和阿里申请的“闪购”商标构成在先权利障碍,影响其获准注册。
饿了么更名为淘宝闪购,是阿里巴巴在即时零售赛道上的战略升级,也是生态协同的必然选择。未来,淘宝闪购能否在与美团闪购的竞争中脱颖而出,成为即时零售领域的“新王者”?我们拭目以待。
【温馨提示】文中部分图片及素材来源网络,版权归属原作者,若有不妥,请联系告知修改或删除,谢谢!
- 上一篇:巴克利:乔丹都死了20多年了 这些蠢货还非要拿他和詹姆斯比
- 下一篇:没有了